SÖRÖSLÓ KÉSZÍTÉS

utolsó frissítés: 2009-05-22



LINKEK:    passzív ház:          
http://www.aktivpassziv.hu/
                   Sörkollektor:          http://www.sorkollektor.hu/
                  
                 
BEVEZETÉS:

          Mióta eszemet tudom, izgatott a természeti energiák kiaknázása. Kollégáim szerint nem emlékeznek arra, amikor még nem akartam szélkereket építeni.  (több 10 éve)

2007 eleje óta inkább a „sörösló” nevű napkollektor izgatta a fantáziám, és végül ez el is készült. Még abban az évben a sörösdobozok gyűjtésébe kezdtem, de mivel a lányom esküvője miatt „nem volt kedvem” ősszel nekivágni az építésnek, így 2008 nyarára tolódott a program. Nagy segítségemre voltak a sörösdobozok „kiürítésében” Gergő és Pisti barátaim. Köszönet nekik!


TERVEZÉS

    Az érdemi munka a tervezéssel indult. A kétszintes lakásban a földszinten van egy cserépkályha, ezért az emeletre terveztem a fűtés rásegítést. Csakhogy a DK-i (140 fok) fal egy alacsony, tető alatti fal, 1,2m magassággal. Innen született a gondolat, hogy a padló közeléből szívjon, és ide is fújja a levegőt a „ló”. Hőtechnikailag is előnyösebb az elrendezés, mert az alsó, hidegebb levegőt hatékonyabban lehet melegíteni, és a felfelé áramló meleg levegő is jobban átjárja a szobát.
(a terv 3D Studio-val)

Front


Top

Left


Az elrendezésből következik, hogy a szívás oldalon egy külön (szívó) csatornában le kell juttatni a levegőt az alsó sarokba. Azért a szívás oldalon, hogy a már felmelegedett levegő (befújási oldal) minél hamarabb bekerüljön a szobába. Kihasználva a szívócsatornát, az aljába helyeztem el a ventilátort, ezzel minimálisra csökkentve a zajt. A gyűjtő és osztó dobozokat is fából képeztem ki, csak a tetejére raktam alu borítást. A légszűrést (Trabant légszűrő) a szívócsonkba építettem be a falba. Mind a két csonknál használtam visszacsapó szelepet, közvetlenül a szobánál.

A 14 db cső végénél, a gyűjtőbe csatlakozásnál építettem 1-1 pillangó szelepet. Ezekkel szabályoztam be a csövekben az azonos áramlási sebességet.

A borítást 3mm-es, ívesen szerelt, tömör plexi lappal terveztem, a kivitelezésnél derült ki, hogy szükséges még két merevítés is középen. A hátsó hőszigetelést 50 mm-es parafával gondoltam, mert ebből volt kellő mennyiség elfekvőben. (sajnos kicsit súlyos)

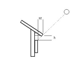
Megterveztem a sörösló eresz alatti magasságát is, a nap járásától függően. Az alábbi grafikonon látható, hogy megfelelő magasságba helyezve a téli alacsonyan járó napot nem zavarja az eresz, de nyáron jótékonyan árnyékolja a kollektort. A számításban segítség a következő excel számoló: EreszArnyek

Eresz árnyéka

Árnyék grafikonja



CSÖVEK KÉSZÍTÉSE

    A többféle technika közül a hővel tágított, összecsúsztatott verziót alkalmaztam, („hypercube: Doboz összeillesztés a hőtágulás segítségével”) sziloplasttal megkenve. Próbáltam ivónyílásos dobozt betenni minden 5.-nek, de még így is nagyon nagy volt a légellenállása. Ezért úgy gondoltam, hogy úgy is lesz némi turbulens áramlás a szűkülések miatt. Kifúrtam tehát a doboz tetején a teljes ivónyílásos lapot. Kiválóan megfelelt hozzá egy egyszerű fa körkivágó, amibe vasfűrész lapot hajlítottam. A doboz alját pedig egyszerűen levágtam fém ollóval, minél közelebb az aljához.

A sörösdoboz szilikonnal kenése

A már megtágított dobozok öszeillesztése

A nyitott alját gázlángon felmelegítve, és ráhúzva a másik szájára kitágítottam. A végleges csövet egy fa vályúban alakítottam ki, széthúzogatás után megkenve sziloval majd ismét egymásba tolva őket. A vályú belsejében megjelöltem a megfelelő távolságokat, így kb. azonos hosszúságúak lettek. Az utolsó doboznak nem vágtam le az alját és fordítva tettem be a csőbe, így mindkét végén „dobozteteje” lett a csőnek. Ezzel az utolsóval állítottam be pontosra a hosszúságot is. Így nagyon stabil, teljesen zárt és egyforma hosszú csöveket kaptam.

A festést két raklap közé, szögekre feltett csöveken végeztem. Sajnos nem gondoltam át, hogy a 3 m2-es felületű kollektorom csöveinek felülete több mint 8 m2. Így háromszor is el kellett mennem festéket venni, mert elfogyott. A festék csak 90 C fokig hőálló, de mivel a doboz eredeti festése sem hőálló, nem hiszem, hogy ez gondot jelentene. Ha újra kezdeném, biztosan ecsetelős festéket használnék és nem ezt a fújósat.

Fekete festék

A csövek festése



OSZTÓ-GYŰJTŐ KÉSZÍTÉSE

    A kollektor favázából alakítottam ki az osztó-gyűjtő csöveket. Először kifúrtam a csövek lukjait. Egy praktikus, állítható körkivágót használtam, amivel nagyon szép köröket tudtam vágni.

Az osztó és gyüjtő kivágása

A kész lyukas deszkák

Aztán elkészítettem a pillangó szelepeket. Alumíniumból kört vágtam, és két lukat fúrtam bele. Vasszöggel benyomtam a tengely helyét.

Pillangószelep alapanyaga

A tengely helyének benyomása szöggel

Egy kicsit ellapolt, hosszú szöget használtam tengelynek.

A kész szelep

A pillangó szelep összeszerelése

Mindegyik cső csatlakozáshoz készítettem egyet-egyet, összesen 14 db-ot. A szög-tengely csavarásával lehet szabályozni a légáteresztést.

Később a már kialakított osztó-gyűjtő csatornákat alumínium lemezzel fedtem be. Én 150 mm átmérőjű csőből széthajtott lemezt használtam, (ez volt), de sík lemezzel jóval könnyebb lett volna a munka. A végső fedés előtt nem felejtettem el a gyűjtő csatornában elhelyezni a hőérzékelőt!

Gyűjtő csatorna fedése

A fedett csatorna



VÁZSZERKEZET KIALAKÍTÁSA

    A leszabott deszkákat lefestettem Xiladecor favédővel, majd gondos szilikonozás közben elkezdtem összeilleszteni őket. A csöveket is szilikonnal ragasztottam a fa lyukakba. Hamar kialakult a csöveket befoglaló keret. Hátulról 3 merevítőt raktam rá, a sarkokat vas derékszögekkel erősítettem meg.

A doboz összeállítása

A szelep felöli végek szilozása

A láda merevítők

Szigetelő parafa alu borítása

A méretnél fél-fél cm-rel kisebbre szabott parafa tábla belső felét befedtem alufóliával, aztán a helyére illesztve a réseket kifújtam purhabbal. Fél óra alatt teljesen kitölti a réseket a megdagadó hab, és stabilan rögzíti a táblákat. A kidagadó felesleget szikével levágtam. A résekben vezettem el a szükséges vezetékeket is (termisztor , motor).

Parafa berakása purhabbal

A végső rögzítő és a bilincs

Készítettem még 2 pár erős rögzítési helyet, egyet a majdani emeléshez, a másikat pedig a végső falrarögzítéshez. Kivágtam a szívó csonk helyét, de a befújó csatorna hátsó (parafa) borítását csak a behangolás után raktam fel.



BEHANGOLÁS

    Mivel „Budakeszi” méréséből látható, hogy a csövekben jelentősen eltér az áramlási sebesség ( http://www.sorkollektor.hu/?cat=363&paged=4 ), igyekeztem azonosra hangolni őket a söröslovamban.

Legelőször szükségem volt egy légsebesség mérőre. A festékes aeroszol flakonjából kiváló mérőműszer készült. Nagyon érzékenyen és pontosan méri a légáramlást.

Áramlás mérő, festékes flakonból készítve

Áramlás mérő

Mivel nekem csak az egymáshoz viszonyított sebességeket kellett mérnem, szükségtelen volt kalibrálnom. Csupán egy önkényesen felvett skálát rajzoltam rá, a leolvashatóság kedvéért.

Áramlás mérés

Szűrő készítése a doboz aljából

A ventilátor felől megszámozott csöveket sorba mérve a 2., 3. csőben extra nagy volt a sebesség. (várható volt, hiszen ezekbe direkt fúj a ventilátor) Ezekben a csövekben nem volt elég a pillangó szelep fojtása, ezért itt kivettem a szelepeket, és a helyére kilyuggatott sörösdoboz aljából raktam fojtást. Három mérési sorozattal kielégítően sikerült egyenletesre beszabályozni a csöveket. Persze a gyűjtő csatorna lefedése még bele fog szólni az áramlási viszonyokba, de a teljesen zárt rendszerben való mérést szükségtelenül túl bonyolultnak ítéltem.

Sebesség mérés eredménye


Sebesség mérés eredménye grafikonon


ELEKTROMOSSÁG

Sikerült szereznem egy hőtárolós kályha ventilátort. Jó tapasztalataim voltak ezzel, még a régi kályhánkban.
Beszerzési forrás: http://www.dl-line.hu/modules.php?name=Aruhaz&s_op=viewproduct&cid=109
                 vagy:  http://www.orczy.com/  FVE 302 Hőtárolós kályha motor

Műszaki adatok:     230 V ; 50Hz ; 58 W ; 530mA

                              210 m3/h ; 165 Pa

                              2150 l/min ; 1,5 kg

A hőkapcsolót magam építettem a Conrad féle kapcsoló alapján. Először hőkülönbség kapcsolónak készült, de sajnos „lezúztam” a külső thermisztort. Így ellenállással beállított fix hőfokra kapcsol (28-30 fok), a szívónyílásnál helyeztem el egy elektromos szerelődobozban.

RL76-8600 ventilátor

Az elektronika szerelése


Sokat kínlódtam a motor rezgésmentes felfüggesztésével. Végül a befújó nyílást kibéleltem filccel, a motor oldalához pedig polifoam lapokat raktam. Gumiszalagokkal (gumipók) rögzítettem a megfelelő helyen. Így elfogadható maradt a rezonancia.

Fontos szempont volt, hogy könnyen hozzáférhető, eltávolítható legyen. Ezt is sikerült megoldani a csavarokkal levehető fedőlappal.

Motor próbaüzem


PLEXI FEDÉS

     Nem vagyok híve a légüreges polikarbonát lapoknak (nem is tetszik), jelentősen kevesebb fényt ereszt át, mint a tömör lap (az üregeket pedig nem lehet tisztítani). Viszont a költségkímélés miatt tömör 3mm-es plexi mellett döntöttem, bár kicsit lágyabb, mint amit képzeltem. PC beszerzési forrás: http://www.metalservice.hu/index.php
Felrakáskor derült ki, hogy középen két helyen szükséges a merevítés a "berogyás" ellen. Hamar megoldottam ívesre hajtott vasakkal.

A plexi leszorító kifúrása

A plexi felrakás


A szegéshez használt 15x15 L idomot 100 mm-enként kifúrtam, felhelyeztem a lapot és átfúrtam a plexit is. Alul szilikonnal szigeteltem, végül facsavarokkal rögzítettem. (Vigyázz! A megoldás rossz, később módosítottam!) A hosszú oldalával kezdtem, aztán a másik hosszú és utána a két rövid. Jobban féltem tőle, mint amilyen könnyű volt felrakni.


FELRAKÁS A FALRA

     Ettől féltem igazán, pláne mivel súlyosabb lett, mint gondoltam. Olyan 6-7 m magasra kellett felrakni és még létrám sem volt ilyen hosszú. Aztán sikerült szereznem egy alu létrát, amit 12-es vasakkal összecsavaroztam az enyémmel, így együtt már kielégítően magas volt. Megbízhatóan erős lett az összekapcsolás. Kicsit megbontottam az eresz alját, és a gerendához rögzítettem egy racsnis csörlőt.

A felső fix pont a csörlővel

A kilukasztott fal és az átmenő csavar


Elkészítettem a két lyukat a falon (szerencsére gázbetonból van) és felszereltem a rögzítésre szolgáló 10-es átmenő csavarokat is. Autós spaniferekkel rögzítettem a csörlő acélhuzalját, és elkezdtem felemelni. Nem mondom, volt egy kis szorongás bennem, de alapvetően minden rendben haladt.

Már lebeg egy kicsit

A Pegazus


A csavarokra való áthelyezés is sikeres volt, és fellélegeztem. Még leszereltem a gurtnikat és boldogan szemléltem a munkám látványos részét.

Már fent van

Az elkészült sörösló


     A bekötéseket a befújó nyílással kezdtem, mert ez volt az egyszerűbb. Bentről a falon keresztül egy 100-as csövet rögzítettem purhabbal a parafa borításban, aztán az innenső végébe beszereltem a visszacsapó szelepet és a díszborítást. Végül nagyjából körbefalaztam, és a felesleget kifújtam habbal.

A szívónyílásnál a légszűrő még bonyolította a dolgot. A már átalakított Trabant szűrőházat építettem be, aránylag elég könnyen. De ekkor derült ki, hogy nagyon nagy a légellenállása. Kibontottam, és kapkodva kerestem a jó megoldást. Végül néhány vakvágány és egy napnyi munka után született meg a tuti megoldás. A 100-as csőbe passzentosan belemegy a Trabant szűrőbetét, a külső lyukat meg bedugóztam. Ennél egyszerűbb már nem is lehet! Csak még a betét cserélhetőségét kellett megoldani, de a kicsit nagyobbra vágott díszborítás lukján keresztül ez is elvégezhető. Még az elektromos szerelődoboz behelyezése és bekötései voltak hátra, ami már felüdülés volt a légszűrővel való kínlódáshoz képest.

A faláttörés

A csőben a szűrő



ÖSSZEGZÉS

    A fal DK (140 fok) fekvéséből adódóan a délelőtti órákban süti a nap, 11 óra körül éri a leginkább merőlegesen a kollektort. 2008-09-19 11:30 kor a fátyolos napfényben, a kinti 12 fok hideghez képest bent 23 fokot csinált, 50 fokos befújt levegővel. A légáramlás kb: 3,4 m/s, ami 75 m3/h, 800 W-nak felel meg. Ezt a korábban leírt műszerrel mértem, amit közben kalibráltam egy „ping-pong”-os szélmérővel (tehát nem igazán pontos).

Fátyolos napsütésben

fátyolos napsütésben



Költségeket tekintve elég elfogadható lett az eredmény, ahhoz képest, hogy több zsákutcát is bejártam.






Költségek


Budapest, 2008-09-19.


TAPASZTALATOK, VÁLTOZTATÁSOK

    1.    A mért 3,4 m/s-es légsebességet elég kevésnek ítéltem, még pontatlan műszer esetén is. Ezért elkezdtem kideríteni, hogy mi fogja le a légáramlást. Levett motortető esetén a légsebesség több mint duplájára nőtt. Ismét kiderült, hogy nem gondoltam végig a dolgot. A szívásnál alkalmazott 10-es csőben elhelyezett légszűrő 6-os belső csőátmérője, az ösztönös megérzéssel ellentétben, 1/3-ra csökkenti a keresztmetszetet (négyzetes összefüggés!). Nem volt mit tenni, nekiláttam beépíteni még két légszűrőt. Viszont az eltelt 1-2 hét alatt beszáradt maradék purhab szelepét addig piszkáltam, amíg elindult, de teljesen ellenőrizetlenül. Mentendő a szoba berendezését, a fülem is habos lett! Aki dolgozott már ilyennel, az tudja ez mit jelent. De megérte: A légsebesség 6,2-6,5 m/s-ra növekedett, a befújt 50-60 C fok közötti levegő hőmérséklete viszont nem csökkent érzékelhetően. Így 1800-2300W körüli teljesítményt sikerült elérni.

2008-10-09 csütörtök
időpont befújt lev. szoba lev. külső lev. teljesítmény munka megjegyzés
óra:perc C fok C fok C fok Watt kWh

8:00
22,0 12,0 0 0 első napsugár eléri
8:15
22,0 12,0 0 0 még áll
8:30 41,0 22,0 12,0 1 007 0,25164 beindult
8:45 47,0 23,0 12,0 1 271 0,31786

9:00 53,0 23,2 13,0 1 579 0,39468

9:15 53,3 23,6 14,0 1 573 0,39335

9:30 59,3 24,0 15,0 1 870 0,46752

9:45 60,4 24,0 15,0 1 928 0,48209

10:00 52,4 24,1 15,0 1 499 0,37481 kicsit fátyolos ég
10:15 48,0 24,0 15,0 1 271 0,31786 kicsit fátyolos ég
10:30 53,8 24,0 15,0 1 579 0,39468 alig  fátyolos ég
10:45 61,0 24,2 16,0 1 950 0,48738 verőfényes ég
11:00 62,4 24,5 16,5 2 008 0,50195

11:15 62,1 24,8 17,0 1 976 0,49401

11:30 61,5 25,0 17,5 1 902 0,47538

11:45 61,1 25,0 18,0 1 881 0,47017

12:00 60,0 25,0 18,5 1 823 0,45585

12:15 59,0 25,0 19,0 1 771 0,44282

12:30 57,2 25,0 19,0 1 678 0,41938

12:45 54,7 25,0 20,0 1 547 0,38682

13:00 53,0 25,0 20,0 1 459 0,36468

13:15 49,2 25,1 21,0 1 256 0,31388

13:30 44,8 25,2 22,0 1 021 0,25527

13:45 39,2 25,2 22,0 729 0,18234

14:00 35,8 25,0 22,0 563 0,14066

14:15 34,0 25,0 22,0 469 0,11722 leállt Ft/nap
5:45
3,0

8,90 gáz  szerint 149,56





-0,4 villany szerint -17,284





8,50 kWh 132,274




    2.    December elején tartottam egy szemlét a "lovamon". Megdöbbenve vettem észre, hogy a plexi borítás több helyen megrepedt, és az egyik sarkon el is törött. Ennyit a törhetetlen plexiről...
    Az első gondolatom az volt, hogy túl erős a hajlítás a széleken és ettől repedt meg az anyag. De egy alaposabb átvizsgáláskor derült ki, hogy nagyobb a baj. Jóval több, lentről még nem látható, kezdődő repedés is van a borításon. De furcsa volt a repedés  jellege. Mintha a csavarok furatainál szétfeszítené valami az anyagot. És ekkor esett le a tantusz! A plexinek és a PC-nek nagyon nagy a hőtágulása. A leírás szerint háromszorosa a fémeknek. Én meg hiába olvastam a beépítési utasításban, valahogy nem esett le a tantusz. Jó alaposan lecsavaroztam átmenő csavarokkal, nem hagyva neki semmilyen mozgási lehetőséget.

A letört sarok megragasztva

Az oldalsó csavarok

    Nem volt mit tenni, a már eltörött anyagot sziloplasztal kijavítottam, a még kezdődő repedéseket pákával megolvasztva összehegesztettem. Aztán az egész rögzítést átépítettem úgy, hogy a rögzítő L profilt oldalról csavaroztam fel. Közben kicsit le is szabtam a plexiből, hogy legyen helye tágulni. Nem volt könnyű manőver létráról "repkedve" megcsinálni, de így jár, aki nem veszi komolyan a hőtágulást. Remélhetőleg a sziloplaszt tömítés (ragasztás) már nem rögzíti túl erősen, és így már nem reped tovább.

    3.    Megjött a tavasz és kiértékeltem a fűtési idény tapasztalatait. Októbertől március végéig mértem a napi teljesítményt ötpercenként, egy erre a célra beállított webkamerával. Zavartalan napsütésben reggel 7-8 órától indul a ventilátor és du. 2-3órakor áll le, mialatt 7-8 kWh munkát végez, még decemberben vagy januárban is. Jól kiegészíti a fűtést az emeleten, amikor a gázfűtés amúgy takarékos, alacsonyabb hőfokon üzemel. Így délután sokkal könnyebben tudja felfűteni a gáz a lakást.
    Megvizsgáltam a 2007-2008-as és a 2008-2009-es tél gázfogyasztás adatait. A sörösló beindításán kívül egyéb változás nem történt a vizsgált két télen. Első oszlopokban a külső átlag hőmérséklet (C fokban), a második oszlopokban a gázfogyasztás (m3) szerepel.

táblázat
diagramm
Jól megfigyelhető, hogy bár a 2008-2009-es tél alig volt langyosabb előzőnél, 72 m3-el kevesebb gáz fogyott havonta. Ez szerényen számolva is legalább 5-6000 Ft megtakarítás, amiből ha levonom a villanyfogyasztást, még mindig tisztességes nyereség marad.
    Rendesen bevált az eresz árnyékoló hatásába vetett reményem is. Jól érzékelhető, hogy március végén, április elején már majdnem egy órával csökken a délutáni üzem. Most, május vége felé pedig már a délutáni erős meleg előtt teljesen árnyékos lesz a kollektor (kb. 12-13 óra a téli idő szerint). Reményeim szerint így a takarás elhagyásával is gond nélkül átvészeli a nyarat.

                   Üdvözlettel: Hadidoki
                   E-mail: feltser58kukacgmailpontcom